搜索
弯豆称重传感器

用于工业设备的高精度弯曲梁式称重传感器

弯曲梁式称重传感器 HAIBOSENSOR 是一种精密仪器,因其精度高、性能可靠而被多个行业普遍采用。它采用应变计技术,即外力导致金属梁变形,从而产生相应的电信号,并对电信号进行测量和分析。.

本文探讨了弯曲梁式称重传感器的基本工作原理,研究了它们在负载下的机械行为,并重点介绍了它们的各种应用--从工业衡器到医疗设备--强调了它们在当代测量系统中的重要作用。.

 

说明

什么是弯梁传感器?选择 HAIBOSENSOR 进行精确测力

  • 弯梁式称重传感器是一种力传感器,旨在通过检测弹性梁在负载下的弯曲变形来测量重量或力。其核心结构通常包括一根细长的金属横梁,横梁上附有应变片。当横梁受力弯曲时,应变片的电阻会发生变化,从而实现高度精确和可靠的测量。.
  • 作为专业的传感器解决方案供应商,海博传感器提供的弯梁称重传感器以其紧凑的尺寸、中低容量测量的多功能性以及单端和双端安装配置的适用性而著称。这些特点使其成为工业衡器、医疗设备和包装机械的理想选择。.

弯曲梁称重传感器如何工作?

  • HAIBOSENSOR 的弯曲梁式称重传感器采用应变片技术。当施加外力时,梁会发生偏移,导致粘接应变片的电阻发生变化。这种变化与外加载荷成正比,并通过惠斯通电桥电路转换为电信号。.
  • 梁:在载荷作用下发生变形的主要弹性结构。.
  • 应变计:核心传感元件,用于检测横梁弯曲引起的电阻变化。.
  • 荷载应用:通常在梁上的特定点施加力。.
  • 信号处理:将电阻变化转化为可测量的电子输出。.

核心工作原理

  • 传感器的工作原理是机械变形。在负载作用下,横梁弯曲,应变片变形,电阻发生变化,从而产生成比例的电信号。HAIBOSENSOR 采用优化的惠斯通电桥配置,可有效补偿温度变化等潜在误差,确保测量精度。.
    测量精度受材料特性(如弹性)、横梁几何形状(影响挠度)和应变片位置(决定灵敏度)的影响。HAIBOSENSOR 在设计和制造过程中对其产品进行了严格的校准,并仔细考虑了环境因素,以确保其在各种应用中的精确性能。.
  • 主要应用领域

    HAIBOSENSOR 弯梁式称重传感器因其多功能性和高精度而广泛应用于各行各业:

  • 平台秤:在工业环境中称量大型物品。.
  • 台秤:实验室、零售等场所的便携式称重任务。.
  • 医疗设备:集成到输液泵和病人升降机中,确保安全和精确。.
  • 材料测试:在试验机中使用,用于测量负载下的材料强度和耐久性。.
  • 工业自动化系统:监测机械臂和机械的受力情况,以加强控制和提高效率。.
    在制造、农业、食品加工、医疗保健甚至恶劣环境中,HAIBOSENSOR 传感器都能提供可靠的测量数据。.

产品优势

  • 成本效益高:性价比高,适用范围广。.
  • 高精确度和稳定性:在各种环境下都能发挥可靠的性能。.
  • 易于集成:设计简单,可直接集成到各种系统中。.
  • 坚固耐用:结构坚固,适合苛刻的应用。.
    在这些核心优势的基础上,HAIBOSENSOR 产品更加注重制造细节和长期可靠性,为客户带来更多价值。.

如何选择合适的弯曲梁称重传感器?

  • 在选择传感器时,请考虑以下关键因素。HAIBOSENSOR 的专家团队可帮助您做出最佳决定:
  • 负载能力:确保电池能承受最大预期负载,并留有适当的安全余量。.
  • 精度和灵敏度:高精度应用需要高灵敏度;整体精度直接影响测量的可靠性。.
  • 环境条件:评估操作环境。弯曲梁传感器适用于受控环境;对于更恶劣的环境,HAIBOSENSOR 可提供剪切梁传感器等替代解决方案。.
  • 安装兼容性:确保传感器的设计与您的安装方法兼容,以防止出现测量误差。.
  • 输出信号兼容性:验证传感器的输出信号是否符合系统的信号处理要求。.

为何选择 HAIBOSENSOR 横梁式称重传感器?

  • HAIBOSENSOR 的弯曲梁式称重传感器基于成熟的机械变形原理,通过精密应变片将力转化为电信号。凭借其紧凑的设计、卓越的精度和广泛的适用性,它们是工业称重、医疗设备、包装机械等领域值得信赖的选择。我们致力于提供可靠、经济高效的力测量解决方案,以适应各种环境。.
  • 正在寻找精确可靠的测力解决方案?HAIBOSENSOR 是您的理想合作伙伴!
    如果您需要为您的项目选择最合适的称重传感器,请立即联系 HAIBOSENSOR!我们的客户服务团队拥有专业知识,随时准备为您提供专业建议和详细指导,帮助您找到完美的解决方案。.

 

真实弯曲梁称重传感器

弯曲梁称重传感器

 

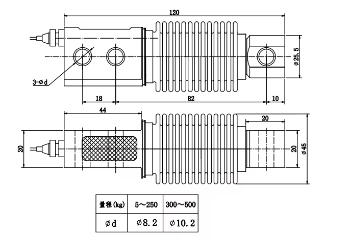
弯曲梁传感器尺寸

弯曲梁尺寸

获取价格 用于工业设备的高精度弯曲梁式称重传感器

我们是高品质称重传感器产品制造商,拥有自己的工厂和专业工程师。如有任何需求,请立即联系我们,我们将为您提供可靠的解决方案。

立即发送称重传感器产品询价!

作为最优质的称重传感器产品制造商,我们可以为任何定制要求提供专业的解决方案。请随时联系我们,我们将尽快与您联系。  

菜单

获取快速报价

您可以获得该型号的价格,也可以向我们提出任何问题,了解您想知道的任何信息,我们将尽快给您答复。

更新 cookie 偏好设置